|
Presión/MPa |
Temperatura /°C |
Velocidad /m/s |
Medio |
|
≤40 |
-35~+100 (con junta tórica NBR) |
≤2 |
Aceite hidráulico, emulsión, agua, gas, etc. |
|
-20~+200 (con junta tórica de FKM) |
1. Materiales de junta tórica disponibles: caucho de nitrilo butadieno (NBR) R01, caucho fluorado R02 (FKM), etc.
2. Materiales del anillo de sellado: Materiales estándar PTFE3 y PTFE4; Otros materiales opcionales incluyen PTFE1, PTFE2 y PTFE5.
Ejemplo de pedido
Modelo de pedido RC2052—80x91×4.2—PTFE3—R01 Modelo-dxDxL- Código de material
Modelo de pedido RCX17—80x91×4.2—Modelo HPU-dxDxL- Código de material
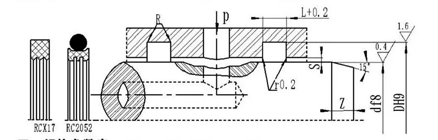
Tabla de especificaciones y parámetros (cualquier especificación dentro del rango de parámetros está disponible)
|
Rango de diámetro del eje re f8 |
Diámetro de la zanja DH9 |
Ancho de zanja L+⁰.2 |
Juego radial Smáx |
Esquinas redondeadas Rmáx |
Chaflán Zmín |
|
|
0~10Mpa |
10~20Mpa |
|||||
|
6~18 |
d+49 |
2.2 |
0.15 |
0.1 |
0.4 |
2 |
|
19~37 |
d+7.5 |
3.2 |
0.2 |
0.15 |
0.6 |
3 |
|
38~199 |
d+11.0 |
4.2 |
0.25 |
0.2 |
1.0 |
4 |
|
200~255 |
d+15.5 |
6.3 |
0.3 |
0.25 |
1.3 |
5 |
|
256~649 |
d+21.0 |
8.1 |
0.3 |
0.25 |
1.8 |
7 |
|
650~1500 |
d+28.0 |
9.5 |
0.45 |
0.3 |
2.0 |
8 |
Nota: Para diámetros de eje ≤ 30 mm, se recomiendan ranuras abiertas.
|
d |
D |
L |
d |
D |
L |
d |
D |
L |
d |
D |
L |
|
8 |
12.9 |
2.2 |
48 |
59.0 |
4.2 |
150 |
161.0 |
4.2 |
350 |
371.0 |
8.1 |
|
10 |
14.9 |
2.2 |
50 |
61.0 |
4.2 |
160 |
171.0 |
4.2 |
360 |
381.0 |
8.1 |
|
12 |
16.9 |
2.2 |
55 |
66.0 |
4.2 |
170 |
181.0 |
4.2 |
370 |
391.0 |
8.1 |
|
14 |
18.9 |
2.2 |
60 |
71.0 |
4.2 |
180 |
191.0 |
4.2 |
380 |
401.0 |
8.1 |
|
15 |
19.9 |
2.2 |
63 |
74.0 |
4.2 |
190 |
201.0 |
4.2 |
390 |
411.0 |
8.1 |
|
16 |
20.9 |
2.2 |
65 |
76.0 |
4.2 |
200 |
215.5 |
6.3 |
400 |
421.0 |
8.1 |
|
18 |
22.9 |
2.2 |
70 |
81.0 |
4.2 |
210 |
225.5 |
6.3 |
420 |
441.0 |
8.1 |
|
20 |
27.5 |
3.2 |
75 |
86.0 |
4.2 |
220 |
235.5 |
6.3 |
450 |
471.0 |
8.1 |
|
22 |
29.5 |
3.2 |
80 |
91.0 |
4.2 |
230 |
245.5 |
6.3 |
480 |
501.0 |
8.1 |
|
24 |
31.5 |
3.2 |
85 |
96.0 |
4.2 |
240 |
255.5 |
6.3 |
500 |
521.0 |
8.1 |
|
25 |
32.5 |
3.2 |
90 |
101.0 |
4.2 |
250 |
265.5 |
6.3 |
520 |
541.0 |
8.1 |
|
28 |
35.5 |
3.2 |
95 |
106.0 |
4.2 |
260 |
281.0 |
8.1 |
550 |
571.0 |
8.1 |
|
30 |
37.5 |
3.2 |
100 |
111.0 |
4.2 |
270 |
291.0 |
8.1 |
600 |
621.0 |
8.1 |
|
32 |
39.5 |
3.2 |
105 |
116.0 |
4.2 |
280 |
301.0 |
8.1 |
630 |
651.0 |
8.1 |
|
35 |
42.5 |
3.2 |
110 |
121.0 |
4.2 |
290 |
311.0 |
8.1 |
650 |
678.0 |
8.1 |
|
36 |
43.5 |
3.2 |
115 |
126.0 |
4.2 |
300 |
321.0 |
8.1 |
670 |
698.0 |
9.5 |
|
38 |
49.0 |
4.2 |
120 |
131.0 |
4.2 |
310 |
331.0 |
8.1 |
700 |
728.0 |
9.5 |
|
40 |
51.0 |
4.2 |
125 |
136.0 |
4.2 |
320 |
341.0 |
8.1 |
750 |
778.0 |
9.5 |
|
42 |
53.0 |
4.2 |
130 |
141.0 |
4.2 |
330 |
351.0 |
8.1 |
800 |
828.0 |
9.5 |
|
45 |
56.0 |
4.2 |
140 |
151.0 |
4.2 |
340 |
361.0 |
8.1 |
1000 |
1028.0 |
9.5 |
Nota: Las especificaciones requeridas no se enumeran aquí; póngase en contacto con nuestra empresa. Ofrecemos productos con un diámetro máximo de 2800 mm.





Instrucciones completas de instalación y uso.
Rui Chen sabe que la instalación correcta es el primer requisito previo para garantizar el pleno rendimiento de los sellos. También le brindaremos una orientación completa sobre el uso de cada producto, especialmente piezas complejas o personalizadas no estándar, y habrá una guía gráfica detallada de instalación.
Estas guías van acompañadas de diagramas paso a paso en alta definición e instrucciones en texto que muestran claramente los puntos de inspección antes de la instalación, los pasos correctos de instalación, las herramientas necesarias y las operaciones incorrectas que deben evitarse, como si nuestros ingenieros estuvieran en el sitio. Además, para ensamblajes o sistemas complejos, creamos tutoriales en video profesionales que permiten a sus operadores dominar de manera intuitiva y rápida las técnicas y precauciones de instalación a través de demostraciones dinámicas, reduciendo en gran medida el riesgo de fallas tempranas debido a una instalación incorrecta.
DIRECCIÓN
No.1 Ruichen Road, Parque Industrial Dongliuting, Distrito Chengyang, Ciudad de Qingdao, Provincia de Shandong, China
Teléfono
Correo electrónico