|
Presión/MPa |
Temperatura /°C |
Velocidad /m/s |
Medio |
|
≤40 |
-35~+100 (con juntas tóricas NBR a juego) |
≤2 |
Aceite hidráulico, emulsión, agua, gas, etc. |
-20~+200 (con juntas tóricas FKM a juego) |
1. Los materiales de junta tórica adecuados incluyen: caucho de nitrilo butadieno (NBR) R01, caucho fluorado R02 (FKM), etc.
2. Materiales del anillo de sellado: Materiales estándar PTFE3 y PTFE4; Otros materiales opcionales incluyen PTFE1, PTFE2 y PTFE5.
Ruichen ha llevado a cabo investigación, desarrollo y producción independientes desde el principio de las materias primas, logrando el control de toda la cadena de productos.
1. Plásticos de ingeniería y materiales compuestos: tomamos el politetrafluoroetileno (PTFE) como núcleo, desde la mezcla, la sinterización hasta el moldeado, la producción independiente de todo tipo de tubos y varillas de materiales compuestos modificados rellenos y luego el procesamiento de precisión en sellos. Esto garantiza la estabilidad y la personalización de las propiedades del material.
2. Elastómero de poliuretano de alto rendimiento: Partimos de la fundición de prepolímero, producimos de forma independiente materiales de tuberías y varillas de poliuretano de alta calidad y los procesamos para obtener varios tipos de sellos, que destacan por su resistencia al desgaste, resistencia a la presión y resistencia a la hidrólisis.
Ejemplo de pedido
Modelo de pedido RC2054—80×69×4.2—PTFE3—R01 Modelo-D*d*L- Código de material Modelo de pedido RCX18—80×69x4.2—HPU Modelo-D*d*L- Código de material
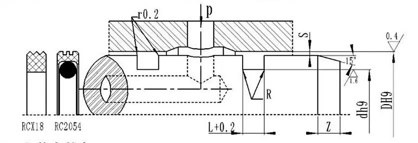
Tabla de especificaciones y parámetros (cualquier especificación dentro del rango de parámetros está disponible)
|
Rango de apertura DH9 |
Diámetro de la zanja dh9 |
Ancho de zanja L+0,2 |
Juego radial Smáx |
Esquinas redondeadas Rmáx |
Chaflán Zmín |
|
|
0~10Mpa |
10~20Mpa |
|||||
|
8~39 |
D-4.9 |
2.2 |
0.15 |
0.1 |
0.4 |
2 |
|
40~79 |
D-7.5 |
3.2 |
0.2 |
0.15 |
0.6 |
3 |
|
80~132 |
D-11.0 |
4.2 |
0.25 |
0.2 |
1.0 |
4 |
|
133~329 |
D-15.5 |
6.3 |
0.3 |
0.25 |
1.3 |
5 |
|
330~669 |
D-21.0 |
8.1 |
0.3 |
0.25 |
1.8 |
7 |
|
670~1500 |
D-28.0 |
9.5 |
0.45 |
0.3 |
2.0 |
8 |
|
D |
d |
L |
D |
d |
L |
D |
d |
L |
D |
d |
L |
|
8 |
3.1 |
2.2 |
50 |
42.5 |
3.2 |
170 |
154.5 |
6.3 |
380 |
359.0 |
8.1 |
|
10 |
5.1 |
2.2 |
55 |
47.5 |
3.2 |
180 |
164.5 |
6.3 |
390 |
369.0 |
8.1 |
|
12 |
7.1 |
2.2 |
60 |
52.5 |
3.2 |
190 |
174.5 |
6.3 |
400 |
379.0 |
8.1 |
|
14 |
9.1 |
2.2 |
63 |
55.5 |
3.2 |
200 |
184.5 |
6.3 |
420 |
399.0 |
8.1 |
|
15 |
10.1 |
2.2 |
65 |
57.5 |
3.2 |
210 |
194.5 |
6.3 |
450 |
429.0 |
8.1 |
|
16 |
11.1 |
2.2 |
70 |
62.5 |
3.2 |
220 |
204.5 |
6.3 |
480 |
459.0 |
8.1 |
|
18 |
13.1 |
2.2 |
75 |
67.5 |
3.2 |
230 |
214.5 |
6.3 |
500 |
479.0 |
8.1 |
|
20 |
15.1 |
2.2 |
80 |
69.0 |
4.2 |
240 |
224.5 |
6.3 |
520 |
499.0 |
8.1 |
|
22 |
17.1 |
2.2 |
85 |
74.0 |
4.2 |
250 |
234.5 |
6.3 |
550 |
529.0 |
8.1 |
|
24 |
19.1 |
2.2 |
90 |
79.0 |
4.2 |
260 |
244.5 |
6.3 |
600 |
579.0 |
8.1 |
|
25 |
20.1 |
2.2 |
95 |
84.0 |
4.2 |
270 |
254.5 |
6.3 |
630 |
609.0 |
8.1 |
|
28 |
23.1 |
2.2 |
100 |
89.0 |
4.2 |
280 |
264.5 |
6.3 |
650 |
629.0 |
8.1 |
|
30 |
25.1 |
2.2 |
105 |
94.0 |
4.2 |
290 |
274.5 |
6.3 |
670 |
642.0 |
9.5 |
|
32 |
27.1 |
2.2 |
110 |
99.0 |
4.2 |
300 |
284.5 |
6.3 |
700 |
672.0 |
9.5 |
|
35 |
30.1 |
2.2 |
115 |
104.0 |
4.2 |
310 |
294.5 |
6.3 |
750 |
722.0 |
9.5 |
|
36 |
31.1 |
2.2 |
120 |
109.0 |
4.2 |
320 |
304.5 |
6.3 |
800 |
772.0 |
9.5 |
|
38 |
33.1 |
2.2 |
125 |
114.0 |
4.2 |
330 |
309.0 |
8.1 |
1000 |
972.0 |
9.5 |
|
40 |
32.5 |
3.2 |
130 |
119.0 |
4.2 |
340 |
319.0 |
8.1 |
|
|
|
|
42 |
34.5 |
3.2 |
140 |
124.5 |
6.3 |
350 |
329.0 |
8.1 |
|
|
|
|
45 |
37.5 |
3.2 |
150 |
134.5 |
6.3 |
360 |
339.0 |
8.1 |
|
|
|
|
48 |
40.5 |
3.2 |
160 |
144.5 |
6.3 |
370 |
349.0 |
8.1 |
|
|
|
Nota: Las especificaciones requeridas no se enumeran aquí; póngase en contacto con nuestra empresa. Ofrecemos productos con un diámetro máximo de 2800 mm.



DIRECCIÓN
No.1 Ruichen Road, Parque Industrial Dongliuting, Distrito Chengyang, Ciudad de Qingdao, Provincia de Shandong, China
Teléfono
Correo electrónico