Qingdao Ruichen Sealing Technology Co., Ltd.
Qingdao Ruichen Sealing Technology Co., Ltd.
Productos
X

Anillo limpiador

El sello antipolvo combinado de doble labio lanzado por Ruichen Seal (un conocido fabricante y proveedor de sellos para vástago de pistón en China) está compuesto por un anillo de sellado de PTFE relleno y una junta tórica. Tiene protección bidireccional contra el polvo y funciones de compensación automática del desgaste, baja fricción, larga vida útil y gran adaptabilidad, y se usa ampliamente en diversos escenarios de movimiento industrial, como alternativo, oscilante y en espiral.

Rendimiento y aplicaciones

El sello limpiador combinado de doble labio es un sello limpiador bidireccional que consta de un anillo limpiador de doble labio relleno de PTFE y una junta tórica. La junta tórica proporciona precarga, compensando el desgaste del anillo de PTFE. Es adecuado para movimientos alternativos, oscilantes o en espiral.


Condiciones de funcionamiento

Presión MPa

Temperatura°C

Velocidad m/s

Medio

-

-35~+100 (junta tórica NBR coincidente)

6

Aceite hidráulico, emulsión, agua, etc.

-20~+200 (junta tórica FKM coincidente)


Ejemplo de pedido

Ordene el modelo RCF02-80-PTFE3-R01

RCF02 - Modelo 80 - Diámetro del eje PTFE3 - PTFE modificado de uso general RO1 - Código de material de caucho correspondiente

Nitrilo (NBR) - R01, Fluorocarbono (FKM) - RO2

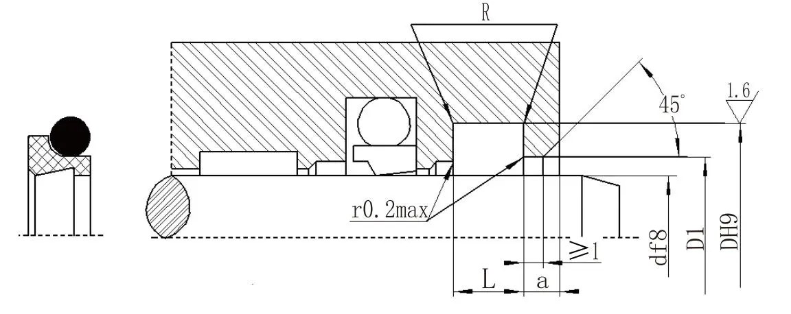
Tabla de parámetros de especificación (se pueden proporcionar productos de cualquier tamaño dentro del rango de parámetros)

Rango de diámetro del eje re f8

Diámetro de ranura D H9

Ancho de ranura l+0.2

Diámetro del agujero abierto

D1H11

Ancho del agujero abierto a≥

Esquinas redondeadas R≤

Diámetro del alambre de la junta tórica

d0

4~11

d+4.8

3.7

d+1.5

2

0.4

1.80

12~64

d+6.8

5.0

d+1.5

2

0.7

2.65

65~250

d+8.8

6.0

d+1.5

3

1.0

3.55

251~420

d+12.2

8.4

d+2.0

4

1.5

5.30

421~650

d+16.0

11.0

d+2.0

4

1.5

7.00

651~1500

d+20.0

14.0

d+2.5

5

2.0

8.60


Etiquetas calientes: Anillo limpiador
Enviar Consulta
Datos de contacto
Obtenga precios competitivos, soporte técnico y respuestas rápidas. Envíe sus especificaciones a Ruichen para soluciones de sellado a medida. Muestras gratuitas disponibles.
X
Utilizamos cookies para ofrecerle una mejor experiencia de navegación, analizar el tráfico del sitio y personalizar el contenido. Al utilizar este sitio, acepta nuestro uso de cookies. política de privacidad
Rechazar Aceptar